Рекомендации по предупреждению пожаров в домах с печным отоплением
МИНИСТЕРСТВО РОССИЙСКОЙ ФЕДЕРАЦИИ ПО ДЕЛАМ
ГРАЖДАНСКОЙ ОБОРОНЫ, ЧРЕЗВЫЧАЙНЫМ СИТУАЦИЯМ
И ЛИКВИДАЦИИ ПОСЛЕДСТВИЙ СТИХИЙНЫХ БЕДСТВИЙ
ФЕДЕРАЛЬНОЕ ГОСУДАРСТВЕННОЕ УЧРЕЖДЕНИЕ
«ВСЕРОССИЙСКИЙ ОРДЕНА "ЗНАК ПОЧЕТА"
НАУЧНО-ИССЛЕДОВАТЕЛЬСКИЙ ИНСТИТУТ
ПРОТИВОПОЖАРНОЙ ОБОРОНЫ»
МОСКВА 2007
Разработаны специалистами ФГУ ВНИИПО МЧС России (А.Н. Бородкин, СВ. Муслакова, В.Г. Шамонин) при участии сотрудников Управления государственного пожарного надзора (УГПН) МЧС России (Ю.И. Дешевых, А.Н. Нестругин).
Утверждены ФГУ ВНИИПО МЧС России 1 октября 2006 г.
Согласованы УГПН МЧС России (письмо от 06.12.2006 г. № 19/1/4686).
Разработаны на основе анализа действующих нормативных документов, касающихся вопросов обеспечения пожарной безопасности домов с печным отоплением. Содержат предложения по обеспечению пожарной безопасности печей и каминов на твердом топливе, как возводимых на месте, так и заводского изготовления при их проектировании, устройстве и эксплуатации.
Предназначены для использования специалистами проектных, монтажных и эксплуатационных организаций, а также для контроля противопожарной защиты домов с печным отоплением.
Содержание
1.2 В рекомендациях использованы следующие термины и определения
2. ОБЕСПЕЧЕНИЕ ПОЖАРНОЙ БЕЗОПАСНОСТИ ПЕЧЕЙ
2.1. Проектирование размещения печей
2.2. Проектирование и установка дымовых каналов для печей
2.3. Кладка (монтаж) печей и их дымовых каналов
2.4. Правила пожарной безопасности при эксплуатации печей
2.5. Правила пожарной безопасности при эксплуатации дымоходов печей
3. ОБЕСПЕЧЕНИЕ ПОЖАРНОЙ БЕЗОПАСНОСТИ КАМИНОВ
3.1. Проектирование размещения каминов
3.3. Проектирование и выбор дымовых каналов (труб) для каминов
3.4. Кладка (монтаж) каминов и их стыковка с дымовыми каналами
3.5. Правила пожарной безопасности при эксплуатации каминов
ВВЕДЕНИЕ
Анализ действующих нормативных документов показал, что требования пожарной безопасности, предъявляемые к устройству, ремонту и эксплуатации печного отопления в жилых домах разобщены, не носят комплексного характера, их проверка проводится без применения современных методов контроля, позволяющих при проведении обследований противопожарного состояния зданий с печным отоплением выявить скрытые дефекты.
В настоящее время большое количество индивидуальных жилых домов имеют смешанный тип отопления. Нередко в процессе эксплуатации происходит реконструкция систем отопления, установка каминов, перепланировка и смена функционального назначения помещений без соблюдения противопожарных требований, что существенно повышает пожарную опасность зданий, увеличивает вероятность возникновения пожара и его быстрого распространения.
В настоящих Рекомендациях систематизированы мероприятия, направленные на обеспечение противопожарной защиты зданий, оборудованных системами печного отопления на твердом топливе.
1. ОБЩИЕ ПОЛОЖЕНИЯ
Цель предлагаемых рекомендаций заключается в обеспечении пожарной безопасности систем печного отопления. Они содержат предложения по обеспечению пожарной безопасности печей и каминов на твердом топливе, как возводимых на месте, так и заводского изготовления (при наличии сертификата пожарной безопасности). Рекомендации распространяются также на новые типы печей и каминов, характеристики которых обоснованы расчетами.
1.1 В основу данной брошюры положено ведомственное издание «Правила производства трубопечных работ» (М: ВДПО, 2002 г.), разд. 2.1 - 3.5 (здесь и далее указаны разделы данных Рекомендаций), а также при ее разработке использовались следующие нормативные документы:
- ГОСТ 9817-95 «Аппараты бытовые, работающие на твердом топливе. Общие технические условия» (разд. 2.4).
- СНиП 41-01-2003 «Отопление, вентиляция и кондиционирование» (разд. 2.1 - 2.3, 3.1).
- ППБ 01-03 «Правила пожарной безопасности в Российской Федерации» (разд. 2.3 - 2.5).
- ТНПБ 6-01-99 «Камины. Общие технические требования. Методы испытаний» (разд. 3.1 - 3.5).
1.2 В рекомендациях использованы следующие термины и определения
Печь - устройство для сжигания твердого топлива в целях отопления помещения и приготовления пищи, изготовленное на месте установки из теплостойких материалов (кирпич, жаропрочный бетон и т.д.) или на заводах (из чугуна или стали).
Камин - разновидность печного устройства, отличающегося большим (по сравнению с печами) размером топочного отверстия (для открытых топок), отсутствием дымооборотов и наличием дымовой камеры. Отопление камином основано на тепловом излучении горящего твердого топлива и от разогретых стен топочного пространства, а также на конвективной теплоотдаче поверхностей камина в обогреваемое помещение. Существуют два типа каминов: сооружаемые на месте установки и сборные. Сборные камины собираются из компонентов заводского изготовления.
Дымовой канал - канал для отвода дыма от печей или каминов и создания тяги.
Отступка - расстояние от наружной поверхности печи (камина) или дымового канала (трубы) до защищенной или не защищенной от возгорания стены или перегородки из горючих материалов.
Разделка - утолщение стенки печи (камина) или дымового канала (трубы) в месте соприкосновения ее с конструкцией здания, выполненной из горючего материала.
Топливник (топка) - часть печи или камина, пространство для сжигания топлива.
Насадной дымовой канал - дымовой канал, опирающийся на потолочное перекрытие.
Коренной дымовой канал - дымовой канал, опирающийся на фундамент здания или на пол рядом с печью (камином).
Стенный дымовой канал - дымовой канал, проходящий внутри стены здания.
2. ОБЕСПЕЧЕНИЕ ПОЖАРНОЙ БЕЗОПАСНОСТИ ПЕЧЕЙ
2.1. Проектирование размещения печей
2.1.1. Печное отопление на твердом топливе допускается для зданий, перечисленных в табл. 2.1, при отсутствии централизованного теплоснабжения.
Таблица 2.1
| Здания | Число этажей, не более | Число мест, не более |
|---|---|---|
| Жилые и административные | 2 | - |
| Общежития, бани | 1 | 25 |
| Поликлиники, спортивные, предприятия бытового обслуживания населения (кроме домов быта, комбинатов обслуживания), предприятия связи, а также помещения категорий Г и Д площадью не более 500 м2 | 1 | - |
| Клубы | 1 | 100 |
| Общеобразовательные школы без спальных корпусов | 1 | 80 |
| Детские дошкольные учреждения с дневным пребыванием детей, предприятия общественного питания и транспорта | 1 | 50 |
| Летние садовые домики | 1 | - |
Примечание. Этажность зданий следует принимать без учета цокольного этажа.
2.1.2 Запрещается печное отопление в зданиях категорий А, Б и В (в соответствии с категорированием зданий по НПБ 105-03).
2.1.3 Поквартирные печи на твердом топливе допускается предусматривать в жилых зданиях до двух этажей включительно.
2.1.4 Печное отопление допускается для одноквартирных индивидуальных жилых домов и коттеджей.
2.1.5 При размещении печей в помещениях следует учитывать расположение дымовых каналов и планировочные решения здания. Варианты размещения печей приведены на рис. 2.1.
Рис. 2.1. Примеры размещения печей и плит в жилых домах:
1 - отопительно-варочная печь; 2 - отопительная печь; 3 - кухонная плита со щитком; 4 - водогрейная колонка
2.1.6 Не рекомендуется размещение отопительных печей и аппаратов у наружных стен здания.
2.1.7 Печи, как правило, следует размещать у внутренних стен и перегородок, предусматривая использование внутренних несгораемых стен для размещения в них дымовых каналов. При невозможности устройства дымовых каналов во внутренних стенах, для отвода дыма следует применять насадные или коренные дымовые грубы.
2.1.8 В зданиях любого назначения при наличии коридоров печи следует устанавливать так, чтобы топливники и задвижки обслуживались из коридоров. В зданиях общеобразовательных школ, детских дошкольных, лечебно-профилактических учреждений, клубов, домов отдыха и гостиниц, не имеющих коридоров, печи следует устанавливать так, чтобы топливники и задвижки обслуживались из подсобных помещений.
2.1.9 В коридорах и подсобных помещениях, из которых обслуживаются топливники печей, следует предусматривать окна с форточками или вытяжную вентиляцию с естественным побуждением.
2.1.10 При размещении печей необходимо обеспечить свободный доступ для чистки камеры сгорания и дымовых каналов от зольных и сажистых отложений.
2.1.11 Печи массой 750 кг и более (при размещении на первом этаже сельского дома) должны устанавливаться на фундаменте, а последний должен опираться на прочный грунт. При устройстве печей на втором или последнем этажах нагрузка от них не должна превышать расчетную на перекрытие.
2.2. Проектирование и установка дымовых каналов для печей
2.2.1 Дымовые каналы (трубы) печей должны обеспечивать полное удаление продуктов горения в атмосферу.
2.2.2 Дымовые каналы (трубы) следует, как правило, размещать у внутренних стен и перегородок из негорючих материалов. Допускается размещение в наружных стенах из негорючих материалов, утепленных при необходимости с наружной стороны для исключения конденсации влаги из отводимых продуктов горения. При отсутствии стен, в которых возможно размещение каналов, следует применять насадные или коренные дымовые трубы.
2.2.3 При установке дымовых каналов из сборных металлических труб необходимо, чтобы участки канала, проходящие через неотапливаемые помещения или вне здания, были покрыты слоем негорючего теплоизоляционного материала, обеспечивающим недостижение точки росы (приблизительно 60 °С), а участки, пересекающие строительные конструкции, должны иметь температуру внешней поверхности не выше 50 °С при эксплуатации печей. Стыки элементов канала друг с другом должны быть герметизированы.
2.2.4 Для каждой печи, как правило, следует предусматривать отдельную дымовую трубу. Допускается присоединять к одной трубе две печи, расположенных в одной квартире на одном этаже. При соединении двух патрубков к каналу следует предусматривать рассечки толщиной 0,12 м и высотой не менее 1 м от низа соединения патрубков.
2.2.5 Печи заводского изготовления необходимо подключать к обособленным дымовым каналам.
2.2.6 На дымовых каналах печи, работающей на твердом топливе, следует предусматривать задвижки с отверстием в них не менее 15×15 мм.
2.2.7 Дымовые трубы необходимо проектировать из керамического (глиняного) кирпича со стенками толщиной не менее 120 мм или из жаростойкого бетона толщиной не менее 60 мм, предусматривая в их основании карманы глубиной 250 мм с отверстиями для очистки от сажи, закрываемые дверками. Допускается применять дымоходы из асбоцементных труб или сборных изделий из нержавеющей стали заводского изготовления (двухслойных стальных труб с тепловой изоляцией из негорючего материала). Применение асбоцементных дымоходов или из нержавеющей стали для печей на угле не допускается. При расположении поверхностей дымовых каналов снаружи зданий толщина кирпичных стенок должна быть не менее 380 мм при расчетной температуре до -20 °С, 510 мм - при температуре от -20 до -30 °С и 650 мм - при температуре ниже -30 °С.
2.2.8 Дымовые трубы следует проектировать вертикальными, без уступов и уменьшения сечения. Допускается отклонение труб под углом до 30° к вертикали с отклонением по горизонтали не более 1 м.
2.2.9 Сечение дымовых труб следует принимать в зависимости от тепловой мощности печи (аппарата) не менее:
- 140×140 мм - при тепловой мощности до 3,5 кВт;
- 140×200 мм - при тепловой мощности от 3,5 до 5,2 кВт;
- 140×270 мм-при тепловой мощности от 5,2 до 7 кВт.
2.2.10 Площадь сечения круглых труб должна быть не менее площади прямоугольных каналов. Площадь дымовой трубы не должна быть меньше площади дымоотводящего патрубка аппарата.
2.2.11 Высоту дымовых труб, считая от колосниковой решетки до устья, следует принимать не менее 5 м.
2.2.12 Дымовые каналы во внутренних или наружных стенах допускается выполнять совместно с вентиляционными каналами. При этом они должны быть разделены по всей высоте герметичными перегородками из глиняного кирпича толщиной не менее 120 мм.
2.2.13. Возвышение дымовых труб (рис. 2.2) следует принимать:
- не менее 500 мм над плоской кровлей;
- не менее 500 мм над коньком кровли или парапетом при расположении трубы на расстоянии до 1,5 м от конька или парапета;
- не ниже конька кровли или парапета при расположении дымовой трубы на расстоянии от 1,5 до 3 м от конька или парапета;
- не ниже линии, проведенной от конька вниз под углом 10° к горизонту, при расположении дымовой трубы от конька на расстоянии более 3 м.
Рис. 2.2. Варианты размещения дымовых каналов над кровлей
2.2.14. Возвышение дымовых труб на 500 мм необходимо предусматривать:
- выше верхней точки здания, пристроенного к отапливаемому;
- выше верхней плоскости ветровой тени более высокого рядом стоящего здания или сооружения.
2.2.15 Устройство зонтов, дефлекторов и других насадок на дымовых трубах не допускается.
2.2.16 Установка дымовых каналов из сборных металлических труб должна отвечать следующим требованиям:
- коррозийная стойкость (относительного воздействия топочных газов) металлических труб должна быть не ниже чем стойкость, соответствующая скорости коррозии, равной 0,01 мм/год;
- стенки внутренней поверхности дымовых труб должны быть гладкими, без выступов;
- конструкция дымовых каналов должна обеспечивать удобство чистки (через верх или прочистные люки) и осмотра, а также требуемую тягу (разрежение в дымовом канале должно быть не ниже указанного в Руководстве по эксплуатации печи);
- крепления дымовых труб должны быть надежными и долговечными, необходимо закрепить как минимум половину фрагментов (т.е. через один);
- должны быть обеспечены герметичность, надежность и прочность сочленений фрагментов дымовых каналов, исключающих просачивание продуктов сгорания.
2.3. Кладка (монтаж) печей и их дымовых каналов
2.3.1 В пределах чердачного помещения наружные поверхности дымовой трубы следует оштукатурить и побелить.
2.3.2 При устройстве печей повышенного прогрева следует защитить печь с наружной стороны металлическим футляром или каркасом, который крепится кляммерами из полосок кровельной стали длиной 100 мм и шириной 10-15 мм, приклепанных к стенке футляра и зажимающихся в швах кирпичной кладки. В качестве каркаса могут использоваться асбоцементные листы, которые снаружи окрашиваются составом, содержащим 70 % асфальтового лака № 177, 20 % алюминиевой пудры и 10 % бензина.
2.3.3 Строительные конструкции, выполненные из сгораемых материалов и примыкающие к печам и дымовым каналам должны защищаться от возгорания путем устройства отступок или разделок с защитой конструкций несгораемой теплоизоляцией.
2.3.4 Отступка может выполняться: закрытой полностью, с двух сторон, с одной стороны и открытой со всех сторон.
2.3.5 Размеры отступок и способы защиты сгораемых стен и перегородок в зависимости от вида отступки и конструктивных особенностей печи следует принимать согласно табл. 2.2.
Таблица 2.2
| Толщина стенки печи, мм | Отступка | Расстояние от наружной поверхности печи или дымового канала (трубы) до стены (перегородки), мм | |
|---|---|---|---|
| не защищенной | защищенной | ||
| 120 | Открытая | 260 | 200 |
| 120 | Закрытая | 320 | 260 |
| 65 | Открытая | 320 | 260 |
| 65 | Закрытая | 500 | 380 |
Примечания:
1. Для стен с пределом огнестойкости 1 ч и более и пределом распространения пламени равным нулю расстояние от наружной поверхности печи или дымового канала (трубы) до стены (перегородки) не нормируется.
2. В зданиях детских учреждений, общежитий и предприятий общественного питания предел огнестойкости стены (перегородки) в пределах отступки следует обеспечивать не менее 1ч.
3. Защиту потолка, пола, стен и перегородок следует выполнять на расстоянии не менее чем на 150 мм превышающем габариты печи.
4. Конструкции зданий из горючих материалов следует защищать от возгорания штукатуркой толщиной 25 мм по металлической сетке или металлическим листом по асбестовому картону толщиной 10 мм.
5. Допускается для защиты конструкций от возгорания применение других негорючих материалов, обеспечивающих предел огнестойкости конструкции не менее 0,75 ч при открытой и 1 ч при закрытой отступке.
2.3.6. В детских дошкольных и лечебно-профилактических учреждениях следует предусматривать только закрытые отступки, схема которых представлена на рис. 2.3. С боковых сторон отступка заделывается красным кирпичом, а сверху на уровне перекрыши печи - двумя рядами кирпича.
Рис. 2.3. Устройство закрытой отступки:
1 - фундамент печи; 2 - уплотнительный слой; 3 - несгораемый пол; 4 - деревянная стена; 5 - щит из досок; 6 - теплоизоляция (асбест или войлок); 7 - кирпич «на ребро»; 8 - печь; 9 - предтопочный лист;
2.3.7 Для циркуляции воздуха в закрытой отступке в стенах с боковых сторон выполняются отверстия над полом и вверху и устанавливаются решетки.
2.3.8 Пол в отступке следует выполнять из негорючих материалов на 70 мм выше уровня пола помещения. Допускается сгораемый пол с обеспечением его защиты в отступке с пределом огнестойкости не менее 0,75 ч.
2.3.9 Для отопительных печей длительного горения и каркасных печей со стенками толщиной 65 мм отступки следует выполнять открытыми со всех сторон.
2.3.10 Изоляция сгораемых конструкций в открытых отступках должна осуществляться штукатуркой толщиной 25 мм или кровельной сталью по асбестовому картону толщиной 8 мм и выходить за контуры печи на 150 мм.
2.3.11 Потолки, выполненные из сгораемых материалов, над перекрытием печи должны защищаться от возгорания.
2.3.12 Расстояние между верхом перекрытия печи, выполненного из трех рядов кирпича, и потолком из горючих материалов, защищенным штукатуркой по стальной сетке или стальным листом по асбестовому картону толщиной 10 мм, следует принимать 250 мм для печей с периодической топкой и 700 мм для печей длительного горения, а при незащищенном потолке соответственно 350 и 1000 мм. Для печей, имеющих перекрытие из двух рядов кирпича, указанные расстояния следует увеличивать в 1,5 раза.
Расстояние между верхом металлической печи с теплоизолированным перекрытием и защищенным потолком следует принимать 800 мм, а для печи с нетеплоизолированным перекрытием и незащищенным потолком - 1200 мм.
2.3.13 Пространство между перекрытием (перекрышей) теплоемкой печи и потолком из горючих материалов допускается закрывать со всех сторон кирпичными стенками. Толщину перекрытия печи при этом следует увеличивать до четырех рядов кирпичной кладки, а расстояние от потолка принимать в соответствии с п. 2.3.12. В стенах закрытого пространства над печью следует предусматривать два отверстия на разном уровне с решетками, имеющими площадь живого сечения каждая не менее 150 см2.
2.3.14 Расстояние от наружных поверхностей кирпичных или бетонных дымовых труб до стропил, обрешеток и других деталей кровли из горючих материалов следует предусматривать в свету не менее 130 мм, от керамических труб без изоляции - 250 мм, а при теплоизоляции с сопротивлением теплопередаче 0,3 м2•К/Вт негорючими или трудногорючими материалами - 130 мм. Пространство между дымовыми трубами и конструкциями кровли из негорючих и трудногорючих материалов следует перекрывать негорючими кровельными материалами.
2.3.15 Конструкции здания, выполненные из горючих материалов и примыкающие к печам, следует защищать от теплового воздействия разделками из негорючих материалов. Размеры разделок с учетом толщины стенок печей следует принимать равными 500 мм до конструкций, не защищенных от возгорания, и 380 мм - до защищенных. Конструкции зданий из сгораемых материалов следует защищать от возгорания штукатуркой толщиной 25 мм по металлической сетке, металлическим листом по асбестовому картону толщиной 8 мм или другими несгораемыми теплоизоляционными материалами (базальтовая вата, кремнеземные маты).
2.3.16 Устройство вертикальной разделки при расположении отопительных печей в проемах сгораемых конструкций приведено на рис. 2.4.
2.3.17. Вертикальные разделки следует выполнять на всю высоту печи в пределах помещения толщиной не менее толщины примыкающей стены или перегородки.
Рис. 2.4. Устройство вертикальной разделки:
1 - печь; 2 - вертикальная разделка; 3 - сгораемая конструкция; 4 - тепло- -изоляция;
2.3.18 Перевязка вертикальных разделок с кладкой печи или дымового канала не допускается, так как это может вызвать образование трещин при осадке печи.
2.3.19 Защита сгораемых конструкций в пределах разделки может выполняться асбестовым картоном толщиной 8 мм или войлоком толщиной 20 мм, смоченным в глиняном растворе.
2.3.20 При устройстве двухъярусных печей следует выполнять горизонтальные разделки в местах пересечения печами сгораемых конструкций перекрытия.
2.3.21 Горизонтальные разделки перевязываются с кладкой печи. Не допускается опирать разделку на перекрытие. Для независимой осадки здания и печи между разделкой и строительной конструкцией оставляется зазор 15 мм, который заполняется негорючими материалами (глиняный раствор с добавлением асбестовой крошки).
2.3.22 Высоту разделки следует принимать больше толщины перекрытия так, чтобы верх разделки выступал над полом или засыпкой на чердаке на 70 мм.
2.3.23 Укладка деревянных балок перекрытия в разделке между верхним и нижним ярусами двухъярусной печи не допускается.
2.3.24 Разделка от дна зольника и дымооборотов до сгораемого пола должна выполняться тремя рядами кирпича, обеспечивая расстояние не менее 210 мм. При несгораемой конструкции пола дно зольника и дымооборотов допускается выполнять на одном уровне с полом.
2.3.25 Стену или перегородку из горючих материалов, расположенную под углом к фронтону печи на расстоянии менее 1250 мм от топочной дверки, следует защищать от возгорания от пола до уровня на 250 мм выше от топочной дверки. Защита должна обеспечивать предел огнестойкости конструкции не менее 0,75 ч.
2.3.26 Для защиты пола из сгораемых материалов под топочной дверкой устанавливается металлический лист размером 500x700 мм, длинной стороной вдоль печи.
2.3.27 Пол из горючих материалов под каркасными печами, в том числе на ножках, следует защищать от возгорания листовой сталью по асбестовому картону толщиной 10 мм, при этом расстояние от низа печи до пола должно быть не менее 100 мм.
2.3.28 Печи следует устанавливать на расстоянии не менее 0,5 м от строительных конструкций из сгораемых материалов.
2.3.29 Печи из сборных бетонных блоков должны иметь компенсаторы, предохраняющие разрушение блоков и образование сквозных трещин при разогреве массива печи во время топки.
2.3.30 Конструкции стен и перекрытий, выполненные из горючих материалов и примыкающие к дымовым каналам, следует защищать от возгорания путем устройства разделок. Размеры разделок следует принимать по п. 2.3.15 настоящих правил.
2.3.31 При пересечении дымовыми каналами конструкции перекрытий из горючих материалов необходимо устраивать горизонтальные разделки (рис. 2.5).
Рис. 2.5. Горизонтальная разделка:
1 - дымовой канал; 2 - теплоизоляция; 3 - сгораемая балка; 4 - негорючая засыпка
2.3.32. Горизонтальные разделки устраиваются путем утолщения стенок дымового канала. При кирпичной кладке утолщение выполняется с весом не более 1/4 длины кирпича в каждом ряду кладки.
2.3.33. Расстояние от внутренней поверхности дымового канала до конструкции здания (размер разделки), а также защиту сгораемых конструкций от возгорания следует предусматривать согласно п. 2.3.15.
2.3.34. Деревянные балки, заложенные в стены с дымовыми каналами, должны располагаться от внутренней поверхности канала на расстоянии не менее 380 мм, если балка защищена от возгорания, и на расстоянии не менее 500 мм, если не защищена.
Варианты выполнения разделок от дымовых каналов до деревянных балок и ригелей представлены на рис. 2.6 и 2.7.
Рис. 2.6. Размещение деревянной балки в стене с дымовыми каналами:
1 - балка; 2 - теплоизоляция; 3 - дымовые каналы
Рис. 2.7 Способ защиты ригеля от возгорания:
1 - балки; 2 -ригель; 3 - дымовые каналы; 4 - разделка
2.3.25 Расстояние от наружных поверхностей дымовых труб до металлических и железобетонных балок следует предусматривать не менее 130 мм.
2.3.36 Сгораемые конструкции кровли (стропила, обрешетки и т.д.) должны располагаться от наружной поверхности дымовой трубы на расстоянии не менее 130 мм.
2.3.37 Свободное пространство между дымовой трубой и конструкциями кровли следует перекрывать фартуком из кровельной стали, подведенным под выдру (рис. 2.8).
2.3.38 В зданиях с кровлями из горючих материалов на дымовых трубах от приборов на твердом топливе должны быть устроены искроуловители из металлической сетки с отверстиями не более 5×5 мм и не менее 3×3 мм во избежание отложений сажи.
Рис. 2.8. Выполнение выдры у дымовой трубы:
1 - фартук; 2 – дымовая труба; 3 - кровельная сталь; 4 - обрешетка; 5 - стропила;
2.3.39. Для присоединения печей к дымовым трубам можно использовать патрубки (дымоотводы) длиной не более 0,4 м. Толщина стенок патрубка из кирпича должна быть не менее 65 мм, а из жаростойкого бетона - не менее 60 мм. При этом должны соблюдаться ограничения:
- расстояние от верха патрубка до потолка из горючих материалов должно быть не менее 0,5 м при отсутствии защиты потолка от возгорания и не менее 0,4 м - при наличии защиты;
- расстояние от низа патрубка до пола из горючих материалов не должно быть меньше 0,14 м;
- патрубки должны быть изготовлены из негорючих материалов.
2.4. Правила пожарной безопасности при эксплуатации печей
2.4.1 Перед началом отопительного сезона печи должны быть проверены и отремонтированы. Неисправные печи к эксплуатации не допускаются.
2.4.2 Перед эксплуатацией печей следует проверить целостность кладки печей и дымовых каналов и состояние футеровки топливника.
2.4.3 В ходе эксплуатации необходим постоянный контроль за исправностью запорно-регулирующей арматуры, колосниковой решетки, дверок зольника и топливника, герметичностью лючков на дымовых каналах.
2.4.4 Запрещается перекаливать печи с периодической топкой, сжигая топлива больше того количества, на которое они рассчитаны. Топку печей следует осуществлять не более двух раз в сутки.
2.4.5 В производственных, культурно-бытовых, общественных и других служебных помещениях топка печей должна производиться специально выделенными для этого лицами, прошедшими противопожарный инструктаж и выполняющими правила пожарной безопасности. Топка в указанных помещениях должна заканчиваться за 2 часа до окончания работы в этих помещениях.
2.4.6 В детских учреждениях с дневным пребыванием детей топка должна заканчиваться не позднее, чем за 1 час до прихода детей.
В общежитиях, больницах и детских учреждениях с круглосуточным пребыванием детей топка должна быть закончена за 2 часа до отхода проживающих ко сну.
2.4.7 Во время массовых мероприятий топка печей не допускается.
2.4.8 Категорически запрещается применять для розжига печей бензин, керосин и другие легковоспламеняющиеся жидкости.
2.4.9 Запрещается топить печь с открытой топочной дверкой. При самопроизвольном открывании дверки следует произвести ремонт.
2.4.10 Запрещается переполнять топливом топливник или использовать дрова, превышающие по длине глубину топливника.
2.4.11 Подходы к печи со стороны топочной дверки должны быть свободными. Мебель и другие сгораемые материалы следует размещать от отопительных аппаратов на расстоянии не менее 0,5 м. В отапливаемом помещении допускается хранение запаса твердого топлива не более чем на одну топку.
2.4.12 При эксплуатации печей заводского изготовления следует использовать топливо только того вида, на который рассчитана печь. Не допускается переоборудовать эти печи для замены одного топлива на другое.
2.4.13 В качестве топлива для печей необходимо использовать дрова, торф и сланцы, очищенные от примесей.
2.4.14 При розжиге и загрузке новых порций мелкого угля, богатого летучими соединениями, не следует закрывать все зеркало горения. Если зеркало оказалось закрытым, то до появления пламени в топливнике над поверхностью угля необходимо топочную дверку держать приоткрытой с зазором 10-20 мм для разбавления газов смеси до безопасной концентрации.
2.4.15 Поверхности печей должны систематически очищаться от пыли и других горючих отложений.
2.4.16 В летний пожароопасный период во время сильного ветра целесообразно прекратить топку печей.
2.4.17 Шлак и золу необходимо удалять в специально отведенное для них безопасное место и заливать их водой.
2.4.18 Зольник печи должен быть закрыт со всех сторон и со стороны обслуживания иметь дверцы. Его конструкция должна предотвращать выпадение раскаленных частиц топлива или золы через отверстия подвода воздуха для горения.
2.4.19 При эксплуатации печного отопления запрещается:
- оставлять без присмотра топящиеся печи, а также поручать надзор за ними малолетним детям;
- располагать топливо, другие горючие вещества и материалы на предтопочном листе;
- топить углем и коксом печи, не предназначенные для этих видов топлива;
- производить топку печей во время проведения в помещениях собраний и других массовых мероприятий;
- использовать вентиляционные и газовые каналы в качестве дымоходов.
2.5. Правила пожарной безопасности при эксплуатации дымоходов печей
2.5.1 При эксплуатации печей должна осуществляться периодическая проверка и очистка дымовых каналов в установленные сроки и в полном объеме.
2.5.2 При эксплуатации дымовых каналов возможны следующие нарушения в их работе:
- недостаточная тяга в каналах;
- выпадение конденсата в дымовой трубе;
- протечки в местах пересечения каналами кровли;
- обледенение оголовка и устья каналов.
2.5.3 Наличие тяги следует проверить перед розжигом печи. При отсутствии тяги их эксплуатация не допускается.
2.5.4 Для обеспечения достаточной тяги в каналах необходимо:
- произвести своевременную их очистку от сажи, смолистых отложений, пыли, пуха и посторонних предметов;
- заделать трещины в стенках каналов и загерметизировать неплотности в соединительных патрубках и местах установки закладных деталей (лючков, задвижек, вьюшек и т.п.);
- в помещение, в котором установлена печь, обеспечить приток воздуха через зазоры между дверью и полом, форточки или фрамуги окна.
2.5.5 Для исключения конденсации влаги в дымовых каналах необходимо контролировать толщину и состояние тепловой изоляции каналов, выполненных в наружных стенах и в пределах чердачного помещения.
2.5.6 Для предотвращения протечек, вызывающих разрушение стенок каналов, следует осуществлять контроль за состоянием выдры и защитного козырька в местах пересечения каналами кровли.
2.5.7 За техническим состоянием эксплуатируемых каналов должен осуществляться постоянный контроль лицами, обслуживающими печи, а также жилищно-эксплуатационными организациями с учетом требований правил и норм технической эксплуатации жилищного фонда.
2.5.8 При периодической проверке дымовых каналов устанавливают:
- наличие тяги в дымовом канале;
- плотность кирпичной кладки и мест соединения патрубков с дымовыми каналами;
- отсутствие засорений дымового канала;
- исправность оголовка;
- состояние противопожарных разделок.
Кроме того, при проверке осуществляют очистку каналов от сажистых отложений.
2.5.9 Дымовые каналы печей подлежат периодической проверке и прочистке перед началом и в течение отопительного сезона не реже одного раза в три месяца.
2.5.10 Очистку дымовых каналов от сажи выполняют трубоочистной тройкой с жесткой волосяной щеткой, а перекидных рукавов, патрубков и дымооборотов печей - веником. Качество очистки каналов от сажи проверяют путем контрольного опускания трубоочистной тройки. Свободное перемещение тройки и количество сажи в основании трубы или дымохода не более двух-трех трубоочистных ковшов свидетельствуют о качественной очистке.
2.5.11 Очистка дымовых каналов от засоров или завалов осуществляют методом проталкивания или разборки.
Прежде всего определяют засорение это или завал. Если при ударении металлическим шаром три-четыре раза длина веревки, на которой опускается шар, увеличивается, то можно предположить, что это засорение канала. Его устраняют путем проталкивания предметов, вызвавших засор, шаром или шестом. Завал полностью перекрывает сечение канала, не поддается проталкиванию и чаще всего устраняется вскрытием стенок канала и разборкой завала вручную через проем. После устранения завала выполняется повторная проверка шаром и заделывается проем в стенках канала.
2.5.12 В зимнее время не реже одного раза в месяц, а в районах с холодным климатом два раза в месяц домовладельцы или лица, ответственные за эксплуатацию печей, должны производить осмотр дымовых каналов (труб) и при необходимости принимать меры к своевременной очистке их от снега и льда.
2.5.13 При обнаружении нарушений в дымовых каналах, которые могут привести к пожару, необходимо прекратить эксплуатацию печей, подключенных к каналам, до полного устранения нарушений.
3. ОБЕСПЕЧЕНИЕ ПОЖАРНОЙ БЕЗОПАСНОСТИ КАМИНОВ
3.1. Проектирование размещения каминов
3.1.1. Камины устанавливаются, как правило, в зданиях, указанных в п. 2.1.1 настоящих Рекомендаций.
При этом камин должен быть обеспечен обособленным дымовым каналом высотой не менее 5 м, с необходимым разреженным (не менее 10 Па), удобным для чистки и осмотра, не проходящим через помещения другого владельца.
3.1.2. Размеры закрытых кирпичных каминов с дымовыми каналами (трубами) высотой более 5 м должны приниматься с учетом площади отапливаемых помещений (табл. 3.1).
Таблица 3.1
| Площадь помещения, м2 | Размеры, см | ||||
|---|---|---|---|---|---|
| портального проема | топливника | дымового канала | |||
| ширина | высота | глубина | ширина задней стенки | ||
| 16 | 60 | 50-52 | 32 | 40 | 14×27 |
| 22 | 70 | 56-58 | 35 | 45 | 14×27 |
| 30 | 80 | 60-65 | 37-38 | 50 | 14×27 |
| 35 | 90 | 70 | 40-42 | 60 | 27×27 |
| 40 | 100 | 75 | 45 | 70 | 27×27 |
3.1.3 Камины следует, как правило, размещать у внутренних стен из негорючих материалов, учитывая возможность присоединения их к существующим дымовым каналам (трубам).
3.1.4 Не рекомендуется расположение поверхностей каминов напротив оконных проемов наружных стен ввиду возможного значительного воздухообмена в помещении, образования сквозняков, а также отрицательного влияния на процесс горения топлива в открытых топках.
3.1.5 Допускается закрывать топочное отверстие металлическим сетчатым экраном с размерами ячеек не более 1×1 мм, стеклянной термостойкой шторкой или топочной дверкой с устройством воздухопровода в топливник.
3.1.6 В помещениях, где устанавливаются камины, следует предусматривать окна с открывающимися форточками (фрамугами) или другие устройства для забора наружного воздуха. Площадь приточных проемов должна быть не менее 100 см2 при установке каминов с закрытой топкой и не менее 200 см - с открытой. Запрещается строительство каминов в помещениях, где отсутствуют окна с открывающимися фрамугами и форточками и с высотой потолка менее 2,2 м.
3.1.7 В местах примыкания каминов к стенам и перегородкам недопустима прокладка электрических проводов.
3.2. Кладка (монтаж) каминов
3.2.1 Камины массой 750 кг и более (при размещении на первом этаже сельского дома) должны устанавливаться на фундаменте, а последний должен опираться на прочный грунт. При устройстве каминов на втором или последнем этажах нагрузка от них не должна превышать расчетную на перекрытие.
3.2.2 Стенки топливников кирпичных каминов необходимо обкладывать огнеупорным или тугоплавким кирпичом. Допускается для кладки топливников использовать отборный красный керамический кирпич или чугунные плиты.
3.2.3 Для облицовки кирпичных каминов следует использовать изразцы, плитку, естественный камень, жаропрочный тонированный бетон, штукатурку и другие материалы.
3.2.4 Перед монтажом топок необходимо произвести осмотр элементов с целью выявления возможных повреждений. При обнаружении неплотностей в местах соединения деталей их необходимо устранить, используя огнеупорную мастику. Разбитые или треснувшие стекла дверок подлежат обязательной замене.
3.2.5. Топки каминов должны устанавливаться на расстоянии не менее 100 мм от несущих стен для обеспечения циркуляции воздуха. В нижней части каминов при установке н a основание также необходимо предусматривать зазор шириной не менее 100 мм.
Рис. 3.1. Устройство камина с топкой закрытого типа:
1 - дымовой канал; 2 – уплотнительное устройство; 3- - противопожарная разделка; 4 - теплоизоляция для защиты конструкции от возгорания; 5 - деревянная конструкция; 6 - решетка; 7 - защитный экран; 8 - соединительный патрубок; 9 - теплоизоляция; 10 - защитный кожух; 11 - палка; 12 - пояс жесткости; 13 - топка камина; 14- основание; 15 - отверстие для поступления воздуха; 16- предтопочный лист
3.2.6. Облицовка топок и конвекционных (декоративных) кожухов должна выполняться из несгораемых материалов (кирпича, мрамора, природного камня и др.). При монтаже кожухов из листовых материалов вначале необходимо собрать жесткий каркас, уложить теплоизоляцию, а затем закрепить отделочные панели (гипсокартонные листы и т.п.). Каркас кожуха не должен опираться юлку камина (рис. 3.1).
3.2.7 Облицовочные детали могут соединяться между собой и с опорными стенами как механически, так и с применением растворов или мастик. В местах высоких температур следует использовать растворы на основе жаростойкого цемента или огнеупорные мастики.
3.2.8 Несущие стены и потолок в пределах ограждающего кожуха, а также внутренние стенки кожуха необходимо покрывать несгораемой теплоизоляцией толщиной не менее 30 мм (плиты базальтового волокна и др.). На теплоизоляционные материалы должен быть сертификат пожарной безопасности.
3.3. Проектирование и выбор дымовых каналов (труб) для каминов
3.3.1 Для отвода продуктов горения следует использовать каналы в капитальных стенах, коренные или насадные трубы, опирающиеся на камин или междуэтажное перекрытие.
3.3.2 Коренные трубы должны устанавливаться на отдельные фундаменты (основания). Стеновые и коренные трубы следует выполнять из полнотелого красного керамического кирпича нормального обжига, без трещин, марки не ниже М125 или из жаростойких бетонных блоков.
3.3.3 Насадные дымовые трубы для каминов могут быть керамические или металлические с теплоизоляцией стенок несгораемым материалом. Толщина слоя теплоизоляционного материала принимается по проекту или определяется расчетом. Термическое сопротивление теплоизоляционного слоя (отношение толщины слоя материала в метрах к коэффициенту его теплопроводности) должно быть не менее 0,5 м2•К/Вт.
3.3.4 Металлические трубы должны быть из высококачественной специально легированной стали с повышенной коррозионной стойкостью, толщиной стенок не менее 1 мм. Конструкция стыков и отдельных звеньев труб должна обеспечивать герметичность в местах соединений и позволять компенсировать температурное расширение каждого элемента без деформации. Места стыков звеньев насадных труб необходимо размещать вне междуэтажных и чердачных перекрытий.
3.3.5 Сечение дымовых труб, выполненных из кирпича, следует принимать в зависимости от тепловой мощности каминов с учетом п. 2.2.9 настоящих правил.
3.3.6 Диаметры дымовых труб сборных каминов должны быть не менее диаметров выходных и соединительных патрубков.
3.3.7 Присоединение топок сборных каминов к дымовым каналам (трубам) нужно осуществлять при помощи патрубков из нержавеющей стали толщиной не менее 1 мм. Допускается применение патрубков из обычной стали толщиной не менее 2 мм или жаропрочных жестких и гибких труб, если они имеют сертификат, подтверждающий пригодность их для этой цели. В местах соединения деталей должна быть обеспечена герметичность путем плотного прилегания элементов друг к другу по ходу дыма и замазки узлов соединений огнеупорными составами.
3.3.8 В дымовых трубах необходимо предусматривать устройства для очистки каналов от сажистых отложений.
3.3.9 При установке дымовых каналов из сборных металлических труб необходимо, чтобы участки канала, проходящие через неотапливаемые помещения или вне здания, были покрыты слоем негорючего теплоизоляционного материала, обеспечивающим недостижение точки росы (приблизительно 60 °С), а участки, пересекающие строительные конструкции, должны иметь температуру внешней поверхности не выше 50 °С при эксплуатации печей. Стыки элементов канала друг с другом должны быть герметизированы.
3.3.10 Камины заводского изготовления должны подключаться к обособленным дымовым каналам.
3.3.11 Установка дымовых каналов из сборных металлических труб должна отвечать следующим требованиям:
- коррозийная стойкость (относительного воздействия топочных газов) металлических труб должна быть не ниже, чем стойкость, соответствующая скорости коррозии, равной 0,01 мм/год;
- стенки внутренней поверхности дымовых труб должны быть гладкими, без выступов;
- конструкция дымовых каналов должна обеспечивать удобство чистки (через верх или прочистные люки) и осмотра, а также требуемую тягу (разрежение в дымовом канале должно быть не ниже указанного в Руководстве по эксплуатации камина)
- крепления дымовых труб должны быть надежными и долговечными, т.е. необходимо закрепить как минимум половину фрагментов (т.е. через один);
- должны быть обеспечены герметичность, надежность и прочность сочленений фрагментов дымовых кана¬лов, исключающих просачивание продуктов сгорания.
3.3.12 Дымовые каналы (насадные или коренные) не должны проходить через квартиру другого владельца; возможна их установка в шахте стены, ограничивающей другого владельца (стенной дымовой канал). В этом случае отверстия для очистки дымового канала должны быть предусмотрены со стороны помещения владельца камина. Кроме того, должны выполняться ограничения:
- каждый камин должен иметь обособленный вертикальный дымовой канал одинакового сечения по всей длине, но допускается отклонение, по необходимости, под углом не более 45° от вертикали с отклонением по горизонтали не более 1 м;
- высота дымовых труб, отсчитываемая от уровня топки, составляет не менее 5 м;
- отвод дыма в вентиляционные каналы и установка вентиляционных решеток на них недопустима.
3.3.13 Возвышение дымовых труб на 500 мм необходимо предусматривать:
- выше верхней точки здания, пристроенного к отапливаемому;
- выше верхней плоскости ветровой тени более высокого рядом стоящего здания или сооружения.
3.3.14 Отношение площади топочного отверстия к площади сечения дымовой трубы должно быть в пределах 8 - 15. Площадь сечения дымовой трубы должна быть не менее 0,03 м2.
3.4. Кладка (монтаж) каминов и их стыковка с дымовыми каналами
3.4.1. При наличии в помещениях сгораемого пола следует в местах установки каминов удалять горючие материалы и устраивать основания из негорючих материалов с выходом за габариты каминов не менее 50 мм (рис. 3.2).
В случае невозможности выполнения данного решения деревянный пол должен быть защищен от возгорания листовой сталью по асбестовому картону толщиной 10 мм или другим негорючим теплоизоляционным материалом. Расстояние от низа зольника каминов до пола должно быть не менее 100 мм.
Рис. 3.2. Деталь пола:
1 - керамическая плитка; 2 - цементно-песчаная стяжка, толщиной 30 мм; 3 - древесно-волокнистые плиты; 4 - железобетонная плита перекрытия
3.4.2 Температура пола под камином не должна превышать 50 °С (п. 4.1.10 ГОСТ 9817-95) при его эксплуатации, для чего под его основание следует поместить слой теплоизоляционного негорючего материала соответствующей толщины (определяемой расчетом).
3.4.3 Пол из негорючих материалов под дверкой топки или портальным проемом каминов следует защищать от возгорания металлическим листом или другим негорючим материалом шириной не менее 500 мм. Длинная сторона листа должна быть не менее чем на 100 мм больше ширины дверки топки или портального проема камина.
3.4.4 При размещении каминов у стен (перегородок) из сгораемых материалов или примыкания к ним дымовых каналов необходимо на всем участке примыкания по высоте и ширине заменить горючий материал на негорючий (кирпич, ячеистый бетон и др.). Если такая замена невозможна, то для каминов и дымовых каналов, выполненных из кирпича, следует предусматривать устройство пожарных разделок из красного кирпича размером 380 мм с защитой конструкций от возгорания негорючим теплоизоляционным материалом. При использовании других негорючих матерка-лов для устройства разделок их термическое сопротивление с учетом толщины стенок каминов или дымовых каналов должно быть не менее 0,5 м•К/Вт.
3.4.5 При размещении каминов и дымовых каналов у строительных конструкций из горючих материалов следует предусматривать устройство отступок от наружных поверхностей каминов или каналов до стен или перегородок. Размер отступок и способ защиты конструкций от возгорания при кладке каминов и кирпичных дымовых каналов необходимо принимать по табл. 2.2.
3.4.6 При размещении сборных каминов у стен (перегородок) из сгораемых материалов следует предусматривать отступки от поверхностей каминов и дымовых труб по всей высоте строительных конструкций размером не менее 260 мм с защитой конструкций от возгорания несгораемым теплоизоляционным материалом.
3.4.7 В местах пересечения дымовыми каналами (трубами) междуэтажных и чердачных перекрытий из сгораемых материалов необходимо устраивать противопожарные разделки с учетом требований п. 3.4.4 настоящей главы (рис. 3.3).
3.4.8 Расстояние от наружных поверхностей кирпичных и бетонных каналов или металлических дымовых труб с теплоизоляцией с сопротивлением теплопередаче 0,3 м2•К/Вт до деталей кровли, выполненных из горючих материалов, следует принимать в свету не менее 130 мм, а от керамических труб без теплоизоляции - 250 мм. Пространство между дымовыми трубами и конструкциями кровли из сгораемых материалов необходимо перекрывать негорючими кровельными материалами.
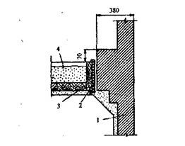
Рис. 3.3. Размещение камина у сгораемых конструкций:
1 - деревянная стена; 2 - кирпич (ячеистый бетон); 3 - теплоизоляционный несгораемый материал; 4 - перекрытие из сгораемых материалов; 5 - противопожарная разделка; 6 - дымовая труба; 7 - соединительный патрубок
3.4.9 При наличии кровли из горючих материалов дымовые каналы (трубы) следует оборудовать искроуловителями из металлической сетки с размерами ячеек не более 5×5 и не менее 3×3 мм во избежание отложений сажи.
3.4.10 Конструкции каминов и дымоходов должны обеспечивать свободный доступ для очистки топливника, дымового карниза и дымоходов от зольных и сажистых отложений.
3.4.11 С внешней стороны топки должна быть установлена барьерная решетка высотой не менее 0,1 м.
3.4.12 Стены, выполненные с применением горючих материалов, примыкающие под углом к фронтону камина, следует защищать от возгорания на высоту от пола до уровня на 0,25 м выше верха топочного отверстия. Защиту конструкций от возгорания тепловой изоляцией следует производить негорючими материалами с суммарным тепловым сопротивлением не менее 0,1 м2•К/Вт. Размеры защитной изоляции следует предусматривать больше высоты и ширины греющей поверхности на 0,15 м.
3.4.13 Суммарное тепловое сопротивление тепловой изоляции от внутренней поверхности дымовых каналов до металлических и железобетонных балок следует принимать не менее 0,15 м2•К/Вт.
3.4.14 При установке камина на перекрытие, выполненное с применением горючих материалов (класса K 1, K 2, К3), минимальное расстояние от уровня пола до дна зольника должно составлять 0,14 м. При отсутствии зольника расстояние от уровня пола до пола топливника должно быть не менее 0,21 м.
3.4.15 Перекрытие, выполненное с применением горючих материалов (класса K 1, K 2, К3), под каминами на металлических ножках необходимо изолировать негорючим материалом с тепловым сопротивлением не менее 0,08 м2•К/Вт с последующей обивкой кровельной сталью. Высота металлических ножек у каминов должна быть не менее 0,1 м.
3.5. Правила пожарной безопасности при эксплуатации каминов
3.5.1 Перед розжигом каминов следует убедиться в наличии тяги в дымовых каналах (трубах). Для этого к приоткрытой дверке камина или к портальному проему необходимо поднести полоску тонкой бумаги. Отклонение ее в сторону топки свидетельствует о наличии тяги.
3.5.2 Загрузка топок дровами не должна превышать 2/3 объема топливника.
3.5.3 Необходимо своевременно очищать зольный короб. Переполненный короб может стать причиной возникновения обратной тяги с выходом продуктов горения в помещение.
3.5.4 В помещениях, в которых установлены камины, допускается хранение дров в количестве не более суточной потребности. Суточная потребность дров должна быть указана в пакете технической документации для каминов заводского изготовления или определена при пробной топке каминов, возводимых на месте установки (при их кладке).
3.5.5 Наружные поверхности кирпичных и керамических труб, проложенные на чердаках, должны быть побелены.
3.5.6 Очистка дымовых каналов (труб) от сажистых отложений должна осуществляться перед началом отопительного сезона, а также не реже одного раза в три месяца в течение отопительного сезона.
3.5.7 Помещения, в которых установлены камины, должны быть оснащены ручными порошковыми или углекислотными огнетушителями вместимостью не менее 2 л.
3.5.8 Дымовые каналы и камины необходимо проверять перед началом отопительного сезона в целях выявления наличия тяги, герметичности узлов соединений и исправности элементов каминов и каналов. Герметичность узлов определяется согласно п. 50.2 НПБ 252-98. Кроме того, дымоходы каминов подлежат проверке и очистке не реже одного раза в три месяца в течение отопительного сезона.
3.5.9 При эксплуатации каминов запрещается:
- применять вид топлива, не предназначенный для каминов;
- использовать для растопки легковоспламеняющиеся и горючие жидкости:
- применять дрова, размеры которых превышают размеры топок;
- сушить одежду и другие материалы и предметы на деталях каминов;
- размещать сгораемые предметы ближе 1,5 м от излучаемой поверхности каминов;
- заполнять нишу для хранения дров легкогорючими материалами, а также переполнять ее дровами;
- разжигать камины при разбитом или треснувшем стекле;
- перегревать топки путем сжигания большого количества дров;
- перекрывать дымовые каналы при горении дров;
- удалять непотухшие угли и золу;
- заливать огонь в топках водой;
- вносить изменения в конструкцию каминов и использовать последние не по назначению;
- оставлять без присмотра работающие камины и разрешать малолетним детям их обслуживание.
3.5.10. Для обеспечения достаточной тяги в каналах необходимо:
- произвести своевременную их очистку от сажи, смолистых отложений, пыли, пуха и посторонних предметов;
- заделать трещины в стенках каналов и загерметизировать неплотности в соединительных патрубках и местах установки закладных деталей (лючков, задвижек, вьюшек и т.п.);
- в помещение, в котором установлен камин, обеспечить приток воздуха через зазоры между дверью и полом, форточки или фрамуги окна.
3.5.11 Для исключения конденсации влаги в дымовых каналах необходимо контролировать толщину и состояние тепловой изоляции каналов, выполненных в наружных стенах и в пределах чердачного помещения.
3.5.12 Для предотвращения протечек, вызывающих разрушение стенок каналов, следует осуществлять контроль за состоянием выдры и защитного козырька в местах пересечения каналами кровли.
3.5.13 При периодической проверке дымовых каналов устанавливают:
- наличие тяги в дымовом канале;
- плотность кирпичной кладки и мест соединения патрубков с дымовыми каналами;
- отсутствие засорений дымового канала;
- исправность оголовка;
- состояние противопожарных разделок.
Кроме того, при проверке осуществляют очистку каналов от сажистых отложений.
3.5.14 Дымовые каналы каминов подлежат периодической проверке и прочистке перед началом и в течение отопительного сезона не реже одного раза в три месяца.
3.5.15 Очистку дымовых каналов от сажи выполняют трубоочистной тройкой с жесткой волосяной щеткой, а перекидных рукавов, патрубков и дымооборотов печей - веником. Качество очистки каналов от сажи проверяют путем контрольного опускания трубоочистной тройки. Свободное перемещение тройки и количество сажи в основании трубы или дымохода не более двух-трех трубоочистных ковшов свидетельствуют о качественной очистке.
3.5.16 Очистка дымовых каналов от засоров или завалов осуществляют методом проталкивания или разборки. Прежде всего определяют засорение это или завал. Если при ударении металлическим шаром три-четыре раза длина веревки, на которой опускается шар, увеличивается, то можно предположить, что это засорение канала. Его устраняют путем проталкивания предметов, вызвавших засор, шаром или шестом. Завал полностью перекрывает сечение канала; не поддается проталкиванию и чаще всего устраняется вскрытием стенок канала и разборкой завала вручную через проем. После устранения завала выполняется повторная проверка шаром и заделывается проем в стенках канала.
3.5.17 В зимнее время не реже одного раза в месяц, а в районах с холодным климатом два раза в месяц домовладельцы или лица, ответственные за эксплуатацию каминов, должны производить осмотр дымовых каналов (труб) и при необходимости принимать меры к своевременной очистке их от снега и льда.
3.5.18 При обнаружении нарушений в дымовых каналах, которые могут привести к пожару, необходимо прекратить эксплуатацию каминов, подключенных к каналам, до полного устранения нарушений.